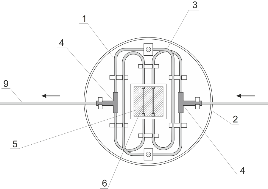
We present pe3Dish, a technology which provides 3D extension of a standard Petri dish. The solution allows you to create continuous perfusion 3D cell cultures equipped with channels imitating vascular system. The technology is a subject of a patent application P.417527.

